|
Wykonać fragment projektu prefabrykowanej hali żelbetowej.
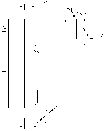
Projekt powinien obejmować żelbetowy słup prefabrykowany.
Schemat statyczny słupa to utwierdzenie w fundamencie
i
zamocowanie przegubowe na górnej krawędzi słupa.
Geometria oraz obciążenia słupa pokazano na rysunku.
Geometrię wspornika, za wyjątkiem wysięgu, należy obliczyć.
Wszelkie niezbędne dane do projektu podano w tabl. 1.
Brakujące dane należy przyjmować zgodnie z obowiązującymi normami i
przepisami.
Projekt powinien zawierać następujące etapy:
1.
Obliczenia
statyczno-wytrzymałościowe słupa i wspornika
2.
Rysunek
wykonawczy słupa - rysunek szalunkowy,
3.
Rysunek
zbrojeniowy słupa oraz zestawienie stali konstrukcyjnej i akcesoriów.

Przykładowe tematy
|
Nr
|
WYMIARY
|
OBCIĄŻENIA
|
MATERIAŁY
|
INNE
|
|
tematu
|
H1
|
H2
|
h
|
b
|
h1
|
hw
|
P1
|
P2
|
P3
|
M
|
BETON
|
STAL
|
utwierdzenie
|
|
|
m
|
m
|
m
|
m
|
m
|
m
|
kN
|
kN
|
kN
|
kNm
|
klasa
|
klasa
|
w
stopie (cm)
|
|
1
|
6,0
|
3,0
|
0,5
|
0,5
|
0,4
|
0,5
|
1
600,0
|
200
|
50
|
450
|
C20/25
|
AII
|
60
|
|
2
|
7,5
|
4,0
|
0,6
|
0,6
|
0,4
|
0,6
|
1
850,0
|
300
|
70
|
250
|
C25/30
|
AIII
|
70
|
|
3
|
9,0
|
2,5
|
0,7
|
0,5
|
0,5
|
0,4
|
2 150,0
|
250
|
80
|
300
|
C30/37
|
AIIIN
|
80
|
|
4
|
8,0
|
3,0
|
0,8
|
0,6
|
0,5
|
0,4
|
1 850,0
|
350
|
55
|
400
|
C35/45
|
AII
|
90
|
|
5
|
6,5
|
4,0
|
0,8
|
0,8
|
0,6
|
0,5
|
1
900,0
|
150
|
45
|
300
|
C20/25
|
AIII
|
100
|
|
6
|
7,0
|
3,5
|
0,7
|
0,7
|
0,4
|
0,3
|
2
200,0
|
350
|
65
|
200
|
C25/30
|
AIIIN
|
60
|
|
7
|
8,5
|
3,0
|
0,6
|
0,6
|
0,4
|
0,6
|
2 000,0
|
200
|
75
|
300
|
C30/37
|
AII
|
70
|
|
8
|
7,0
|
4,5
|
0,7
|
0,5
|
0,5
|
0,5
|
3
650,0
|
250
|
80
|
250
|
C35/45
|
AIII
|
80
|
|
9
|
6,0
|
3,5
|
0,9
|
0,7
|
0,6
|
0,4
|
3
400,0
|
450
|
55
|
450
|
C20/25
|
AIIIN
|
70
|
|
10
|
8,5
|
3,5
|
0,8
|
0,8
|
0,5
|
0,5
|
2 800,0
|
400
|
60
|
150
|
C25/30
|
AII
|
100
|
|
11
|
6,5
|
4,0
|
0,6
|
0,6
|
0,4
|
0,6
|
2
450,0
|
300
|
45
|
350
|
C30/37
|
AIII
|
60
|
|
12
|
7,5
|
3,0
|
0,5
|
0,5
|
0,3
|
0,5
|
1
850,0
|
200
|
60
|
200
|
C35/45
|
AIIIN
|
70
|
|
13
|
8,5
|
2,0
|
0,7
|
0,5
|
0,5
|
0,3
|
1 900,0
|
350
|
55
|
250
|
C20/25
|
AII
|
80
|
|
14
|
7,0
|
4,0
|
0,7
|
0,5
|
0,4
|
0,4
|
2
200,0
|
450
|
70
|
350
|
C25/30
|
AIII
|
90
|
|
15
|
6,0
|
4,5
|
0,8
|
0,6
|
0,4
|
0,5
|
2
400,0
|
250
|
75
|
400
|
C30/37
|
AIIIN
|
100
|
|
16
|
9,0
|
2,0
|
0,8
|
0,8
|
0,5
|
0,4
|
3 650,0
|
300
|
65
|
300
|
C35/45
|
AII
|
80
|
|
17
|
7,0
|
3,0
|
0,7
|
0,7
|
0,4
|
0,5
|
2
800,0
|
400
|
45
|
200
|
C30/37
|
AIII
|
90
|
|
18
|
6,5
|
2,5
|
0,8
|
0,6
|
0,4
|
0,3
|
3
200,0
|
300
|
60
|
350
|
C35/45
|
AIIIN
|
100
|
|